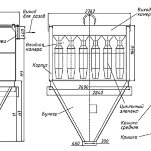
Устройство и принцип работы циклона БЦ-512-1-(4x4)
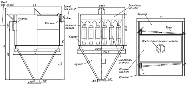
Батарейный циклон БЦ-512-1-(4x4) собран из нескольких циклонных элементов, объединенных в общий сварной корпус. Для этого вида циклонов характерно трехсекционное строение — верхняя, средняя и нижняя камеры. При небольших нагрузках один или два из трех отсеков могут быть отключены при помощи шибера. Крышка циклона оснащена предохранительных клапаном, который защищает прибор на случай аварийной ситуации. По необходимости, циклоны могут обшиваться теплоизоляционными материалами. Особенно это актуально в случаях нестабильного температурного режима.
Сначала потоки загрязненного воздуха попадают в средний отсек и проникают во все циклонные элементы. Далее, за счет центробежной силы, зола и пыль оседает на стенках средней камеры. При контакте со встречными потоками воздуха, твердые частицы золы и пыли попадают в нижнюю секцию (бункер), в то время как обработанный чистый воздух проходит через верхнюю камеру и выходит из системы.
Условное обозначение
Циклон БЦ-512-1-(4x4), где:
- Б — батарейный;
- Ц — циклон;
- 512 — диаметр циклонного элемента.
- 1 — количество секций;
- (4x4) — количество элементов.
Монтаж циклона БЦ-512-1-(4x4)
Эффективность работы батарейного циклона БЦ-512-1-(4x4) зависит от соблюдения СНиП 11-35-76 «Котельные установки» и «Правил устройства и безопасной эксплуатации паровых и водогрейных котлов». Чтобы не допустить перепад температур и образования конденсатов в бункере-накопителе, прибор устанавливают внутри помещения. Циклон может устанавливаться за блоком котла либо удаленно. При установке циклона на удаленном расстоянии от котла, недопустимы перегибы, сужения и расширения газопровода.
Установка и пуско-наладочные работы выполняют специалисты, которые имеют разрешение на проведение данных работ.



